外观
SC刊登
约 4418 字大约 15 分钟
2025-10-20
一、功能介绍
1.1 功能用途
SC刊登功能是北极星系统中用于亚马逊平台商品Listing管理的核心模块,支持产品的上架刊登、编辑优化等一系列操作。
二、功能入口
路径:Listing–>SC刊登

三、权限说明
角色权限相关问题,可查阅权限管理
四、操作说明

4.1、快速检索
4.1.1、视图切换
支持子体、父体、Bundle三种视图查看Listing数据,满足不同管理场景需求:
- 子体视图:展示单个SKU对应的Listing详情,用于单个商品的精细化操作。
- 父体视图:展示多属性商品的父ASIN及关联子体,用于变体管理(如添加子体、解除多属性)。
- Bundle视图:展示捆绑商品的组合信息,用于Bundle类型商品的编辑、解绑操作。
4.1.2 多维度查询
支持通过以下字段精准检索Listing,输入关键词或选择选项后点击“查询”即可,点击“重置”可清空检索条件:
- 基础标识:ASIN、平台SKU、公司SKU。
- 商品信息:标题(英文)、产品名称(中文标题),都支持模糊/精准搜索。
- 状态与渠道:亚马逊状态、店铺、站点、发货方式(FBA/FBM)。
- 管理维度:销售小组/组织、预售状态、自动库存规则(启用/禁用)。

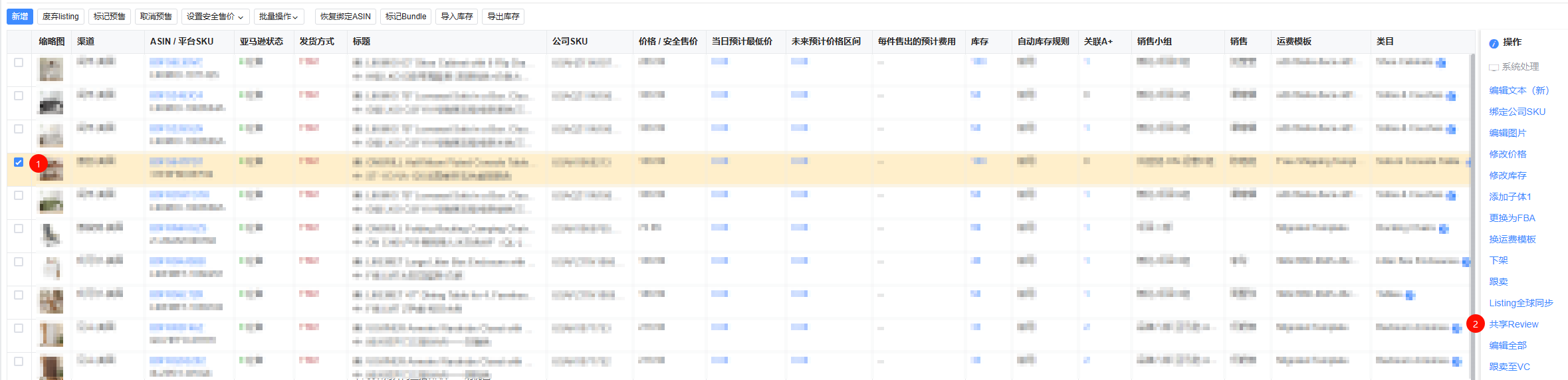
4.2、列表数据
- Listing数据来源分为两种:
| 数据来源 | 同步规则 | 显示时间 |
|---|---|---|
| 北极星系统刊登 | 工单完结后实时同步至列表 | 工单显示“发布成功”后立即查看 |
| 亚马逊后台刊登 | 每日下午16点同步一次 | 下午16点前完成的后台刊登,次日在列表查看 |
- SC列表:库存字段数据同步自亚马逊后台,同步频率同后台刊登数据一致(亚马逊后台:展示的是总可用库存(含下单未付款未出库),亚马逊前台:展示库存是 可购买库存(不含未付款未出库))。
- VC列表:库存字段数据显示的是在北极星刊登系统最后一次修改的数据,例如使用“修改库存”、“自动库存”功能。

4.3、操作区域
勾选目标ASIN后,操作区域会显示支持的功能(分为系统自动处理与人工客服处理两类),具体操作流程如下:

4.3.1 系统工单操作(自动处理)
流程:选择系统处理任务类型→填写相关信息→审批通过→推送到刊登队列→获取后台发布状态(发布成功/发布失败/部分成功)→反馈结果。
(1)新增刊登
用于创建全新Listing,需严格按模板填写信息,避免因字段错误导致发布失败:

- 基础信息选择
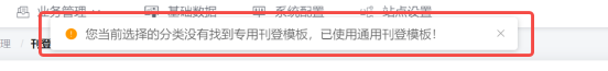
- 选择“组织”(账号含多个组织时需指定)→ 选择“渠道”(组织关联的渠道自动带出)→ 选择“品类”(更换品类会清空已填数据)。

- 若所选品类无专用模板,系统自动切换为“通用模板”。

- 依次按照模板填写店铺信息、重要信息、变体信息、图片信息、描述、关键词、更多详情

- UPC分配设置
类目不支持品牌豁免时,需选择“是”并分配UPC(分配前需在“基础-UPC管理”导入可用UPC);支持豁免时选择“否”。
注:若工单审批驳回未推送,UPC自动释放回UPC池;若工单完结后刊登失败,需联系【李嘉倍/龚伟】释放。

- 导入UPC流程

- 变体与SKU设置
- 选择“变体类型”:单品(无变体)或多属性(需选择“变体属性”字段)。

填写“公司SKU”:
傲创/CP/傲彼瑞账号下,首次在北极星使用的公司SKU,则需用“基础-新品上架备案”功能。
其余账号,需用“基础-产品分配小组”功能分配至所属销售小组;
注:两个功能用途一样,只是不同情况下使用。


- 信息补充与提交
- 需补充更多字段可从“更多详情”下面找到字段添加,确认信息无误后提交审批,审批通过后推送至刊登队列。

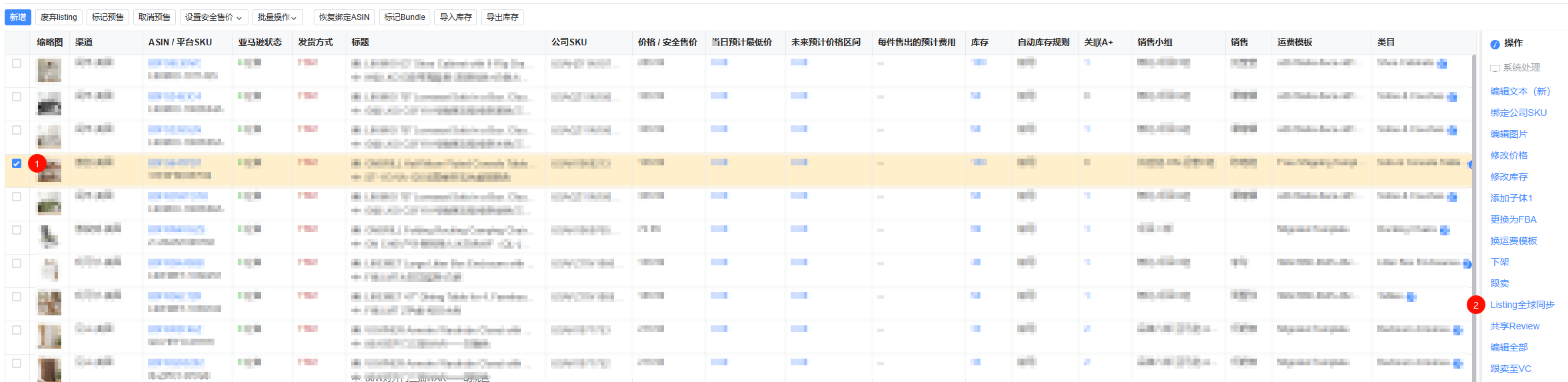
(2)修改价格
用于调整商品售价或设置优惠价:
单个修改价格
勾选ASIN,点击“修改价格”,弹窗展示当前“现价(Your Price)”、“优惠价(Sale Price)”、“厂商建议价格(List Price)”、最低广告价(Minimum Advertised Prise)→ 填写新价格 → 提交审批。
设置优惠价:需同时填写“优惠价”“优惠开始/结束日期”,优惠价需低于原价。


批量修改价格
- 勾选多个ASIN,点击“批量操作”→ 点击“修改价格”,其余操作同单个修改一致。


(3)修改库存
用于调整FBM商品的库存:
单个修改库存
- 勾选FBM发货的ASIN,点击“修改库存”→ 输入目标库存数量 → 提交审批。


批量修改库存
- 勾选多个ASIN,点击“批量操作”→ 点击“修改库存” ,其余操作同单个修改一致。

批量修改库存(表格形式)
- 点击“导入库存”→ 下载模版 → 填写上传 → 提交审批,其他信息按实际选择即可。


(4)绑定公司SKU
用于Listing的公司SKU错误 或 没有绑定公司SKU时调整产品公司SKU:
单个绑定公司SKU
勾选ASIN,点击“绑定公司SKU”→ 选择“追加公司SKU” → 提交审批。
注:绑定过的公司SKU都会显示在列表里,BI系统只会取最后绑定的公司SKU计算成本



批量绑定公司SKU
- 勾选多个ASIN,点击“批量操作”→ 点击“绑定公司SKU” ,其余操作同单个修改一致。


(5)编辑文本(新)
用于修改已发布Listing的文本信息(产品信息、标题、描述、五点描述、关键词):
- 勾选ASIN,点击“编辑文本(新)”→ 修改目标字段 → 填写“编辑原因” → 提交审批。


- 同步更新本地:当北极星内容和亚马逊后台内容不一致时,可用此功能同步最新数据。
- 产品变体关系、字段内容、Product type类型等。

(6)编辑图片
用于修改已发布Listing的图片信息:
- 勾选ASIN,点击“编辑图片”→ 删除(鼠标停留图片上方可删除/放大查看)/上传新图片 → 填写“编辑原因” → 提交审批。


(7)编辑全部
用于修改已发布Listing的全部字段信息:
- 勾选ASIN,点击“编辑全部”→ 修改目标字段 → 填写“编辑原因” → 提交审批。


- 同步更新本地:当北极星内容和亚马逊后台内容不一致时,可用此功能同步最新数据。

(8)更换为FBA/更换为FBM
用于切换Listing的发货方式,需补充对应信息以符合亚马逊规则:

- FBM→FBA:勾选FBM ASIN,点击“更换为FBA”→ 选择“是否包含电池”(仅支持“否”)、“危险商品规管”→ 提交审批,通过后系统同步发货方式至亚马逊后台。

- FBA→FBM:勾选FBA ASIN,点击“更换为FBM”→ 选择对应的“运费模板”(需提前在“Listing-FBM运费模板”菜单里创建,可查看FBM运费模板文档)、填写“上架库存”、“处理时间”→ 提交审批,通过后系统切换发货方式并同步库存至亚马逊后台。

(9)换运费模板
用于修改已发布Listing的运费模版:
- 勾选ASIN,点击“换运费模版”→ 选择需要使用的模版(模版较多可使用搜索功能检索) → 提交审批。


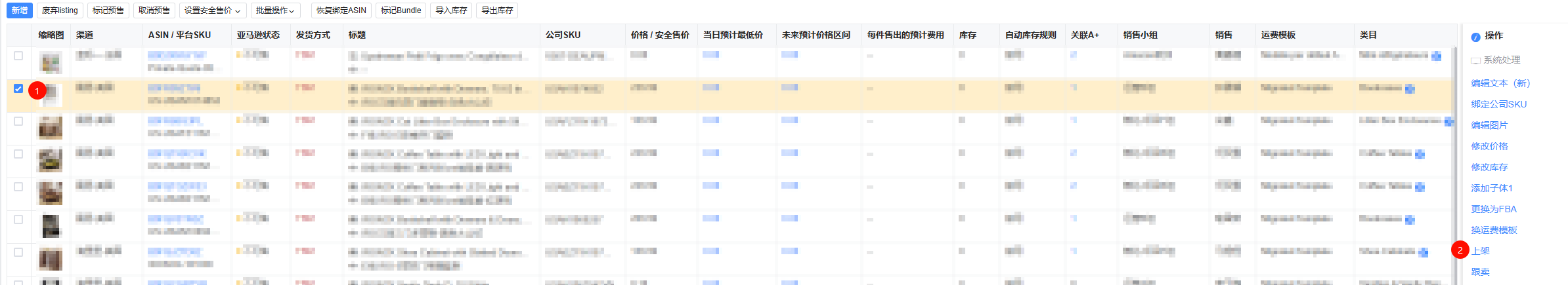
(10)下架/上架
根据发货方式不同,下架/上架逻辑存在差异,操作时需注意区分:

| 操作类型 | 发货方式 | 操作逻辑 | 操作步骤 |
|---|---|---|---|
| 下架 | FBA | 真实删除:下架后Listing从亚马逊后台消失,需重新上架时等同于新建Listing | 1. 勾选FBA在售ASIN,点击“下架” 2. 确认下架(不可逆),提交后系统自动删除亚马逊后台Listing |
| 下架 | FBM | 虚假下架:仅将库存调为0,Listing仍在亚马逊后台,上架时仅需恢复库存 | 1. 勾选FBM在售ASIN,点击“下架” 2. 确认后系统自动将后台库存改为0 |
| 上架 | FBA | 重新创建:复用原平台SKU,需确保品牌、制造商与原ASIN下其他平台SKU的一致 | 1. 勾选FBA下架ASIN,点击“上架” 2. 选择“是否过期”、“是否包含电池”、“供应商声明” 3. 提交审批,在亚马逊后台新增一条listing,在我们系统还是使用下架前原listing进行状态修改 |
| 上架 | FBM | 恢复库存:将库存调为大于0的数值,前台恢复可售 | 1. 勾选FBM下架ASIN,点击“上架” 2. 输入目标库存数量,提交后系统同步库存至亚马逊 |
FBA下架/上架


FBM下架/上架


(11)添加子体/解除多属性
用于管理多属性Listing的变体关系,操作仅支持整体解绑或批量添加:
- 添加子体:
- 若Listing无父ASIN(单体):勾选ASIN,点击“添加子体1”→ 填写父体标题、选择多属性类型,输入子ASIN信息 → 提交审批后生成父-子变体关系。


- 若Listing已有父ASIN:勾选父ASIN(父体视图下),点击“添加子体”→ 输入新子体ASIN的平台SKU、属性信息 → 提交后追加至现有变体中。


- 解除多属性:仅支持整体解绑(不可单独解绑某个子体),勾选父ASIN(父体视图下)→ 点击“解除多属性”→ 提交审批后所有子体恢复为单体Listing。


(12)跟卖
用于跟卖Listing(支持同店铺/跨店铺跟卖),需确保“跟卖产品UPC”与“被跟卖产品的UPC”一致:
- 勾选ASIN,点击“跟卖,系统自动校验“渠道-公司SKU”关系(需在“基础-产品&Listing关联”维护关系)。
- 选择“公司SKU”、“跟卖店铺”、“跟卖价格”、“发货方式”(FBA无需填数量,FBM需填写库存数量),提交审批,通过后系统在目标店铺创建跟卖Listing。

注意:傲创、傲彼瑞账号都只能自己跟卖自己,不能跨账号跟卖。
(13)跟卖到VC
用于跟卖Listing到亚马逊VC:
- 勾选ASIN,点击“跟卖到VC”→ 按照要求填写 → 提交审批。
注:1、如果被跟卖的SC产品无UPC,系统会自动分配UPC;2、跟卖时搜索不到公司SKU则需使用“基础-产品分配小组”分配公司SKU到VC渠道下的销售小组。


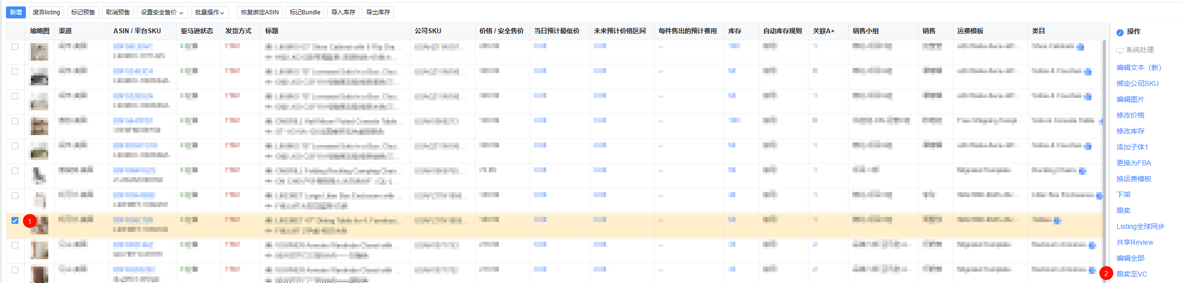
(14)Listing全球同步
用于同步当前站点产品到其他站点售卖:
- 勾选ASIN,点击“Listing全球同步”→ 按照要求填写 → 提交审批。


(15)共享Review
用于同步当前站点产品的评论到其他站点下:
- 勾选ASIN,点击“共享Review”→ 按照要求填写 → 提交审批。


(16)废弃Listing
用于后台已经删除Listing,需要把北极星的数据去掉时,操作后数据不再展示:
- 勾选ASIN(支持单个/批量),点击“废弃Listing”→ 提交审批,通过后系统隐藏该Listing在列表中的展示。


(17)设置安全售价
用于给Listing设置一个安全价格,当有人修改产品价格低于安全售价时,需要销售本人审核工单:


(18)导出库存
用于导出佰易的实时库存数据,会通过企微的“刊登通知”发送Excel文件。

4.3.2 人工工单操作(客服处理)
人工工单需客服在亚马逊后台手动操作,流程为:发起任务→填写→审批→人工处理→工单完结,目前支持的操作如下:
(1)删除Listing
用于删除FBM类型的Listing:
- 勾选ASIN,点击“删除Listing”→ 按照要求填写 → 提交审批。


(2)类目修改
用于产品类目的修改:
- 勾选ASIN,点击“类目修改”→ 按照要求填写 → 提交审批。


五、数据来源
1、Listing数据说明:
| 数据来源 | 同步规则 | 显示时间 |
|---|---|---|
| 北极星系统刊登 | 工单完结后实时同步至列表 | 工单显示“发布成功”后立即查看 |
| 亚马逊后台刊登 | 每日下午16点同步一次 | 下午16点前完成的后台刊登,次日在列表查看 |
2、重要字段说明:
| 字段 | 说明 |
|---|---|
| 库存 | 每天同步一次后台数据;展示的是总可用库存(含下单未付款未出库)与后台展示一致。 |
| 价格/安全售价 | 显示的是Purchasable Offer,List Price字段可以通过操作区域的修改价格 或 编辑全部功能进行查看或更改。 |
六、常见问题(FAQ)
Q1:查询不到我刊登的listing
A1:通过北极星系统刊登通过查询不到,联系【龚伟/李嘉倍】;
A2:亚马逊后台刊登的数据,系统是每天16:00从亚马逊同步数据,由于数据量较大,一般同步到凌晨结束,次日可查看。 (1)等系统自动同步更新。 (2)需要立马查看,用Lisitng菜单下【ASIN认领】功能,工单结束 数据即可同步出现(只用于亚马逊平台,其他平台无此功能) (ASIN认领前提:前台可以正常看到链接,找客服用渠道sku查ASIN) ASIN认领有两种用途:1、需要把亚马逊后台刊登的数据马上同步到北极星,2、没有公司sku的产品 可以通过认领绑定公司sku。
Q2:店铺后台删除了Listing,北极星没有变为“删除下架”状态
A:北极星“删除下架”状态一周同步一次。
Q3:导出库存企微提醒,没有找到有效数据!请确认自发货系统存在SKU数据!
A:需要确保自发货系统存在平台SKU和公司SKU的绑定关系。
Q4:列表产品信息和后台不一致
A:如果是在亚马逊后台修改了信息,1、可以等次日自动同步内容;2、使用SC列表》右侧【编辑全部】/【编辑文本(新)】功能里的》【同步更新本地】,点击后即可同步最新的数据到北极星。
Q5:能解绑变体内的某个子体吗
A:仅支持全部子体解绑,不可单独解绑一个子体(如需单独解绑,需先解绑全部,再重新合并);以上操作可用【解除多属性】功能。
Q6:新增刊登结单后,工单报错【ERROR】- This listing is being reviewed for potential compliance requirements and is suppressed until this process is complete.
A:这是平台返回的合规性报错,(1)等系统自动同步更新,次日可查看。(2)Lisitng菜单下【ASIN认领】功能,工单完结后即可查看到Listing数据,需要找客服用渠道sku查ASIN。
Q7:添加子体报错所有子体类型必须一样
A:亚马逊后台查看所有子体的product type类型是否一致,后台一致 但北极星提示报错,则用同步更新本地功能;如后台不一致,需要开Case修改类目一致。
Q8:修改了产品信息,工单也没有报错,但是亚马逊后台没生效
A:(1)查看下Listing在后台是否有异常信息,有的话做任何修改都不会直接生效。(2)后台没异常信息,联系【龚伟/李嘉倍】
